首页 > 资讯列表 > 资讯详情
超2亿市场的细分赛道,迎来颠覆性玩家!
分类: 厂家、产品>
|
2025-09-17
|
29次阅读
|
转载 https://mp.weixin.qq.com/s/FyBbdR23wf_e5djw86md8A

在前司负责生化销售,做了三四年时,不管是医疗还是工业检测,都难。但我还是发现一个小而美的稳定赛道,那就是精浆生化检测领域

根据市场调研与厂家走访,这一细分赛道的体量可能超2亿元人民币。(数据不保真,仅供参考)

天花板虽然低,但是玩家少啊!只要厂家控制好运营规模,互相不拆台,又没有集采,就是一头现金小奶牛,生活过得滋滋润润。

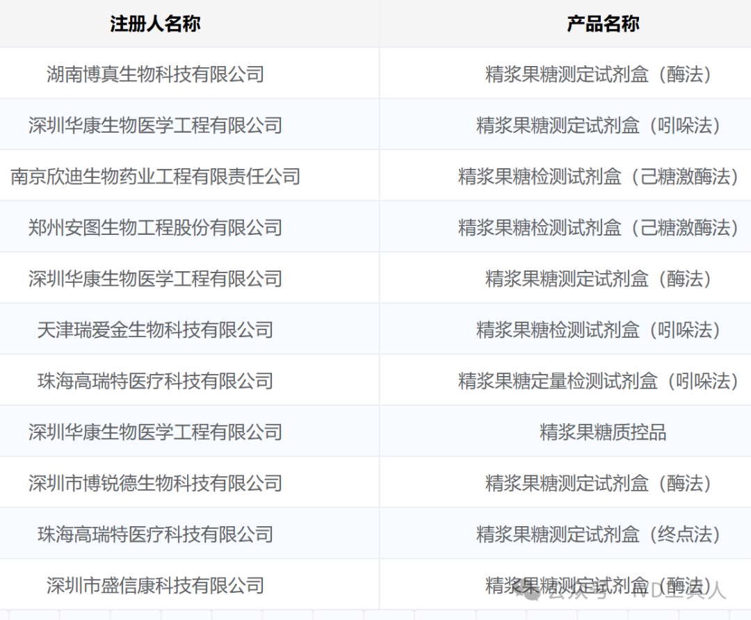
精浆生化分析检测参与者

图片

精浆检测是男性生育力评估中的重要环节,主要通过生化分析来评估附属性腺(如前列腺、精囊腺)的功能状态,为男性不育症的病因诊断提供关键依据。常见的玩家可以在NMPA官网上查到,不到十家,真正的小而美。

但恐怕这个宁静的细分市场,要迎来颠覆性参与者了!

精浆检测中,常见的生化项目有果糖、锌、柠檬酸、中性α-葡萄糖苷酶,采用全自动生化分析仪,提供单项目或套餐组合,主要针对较高通量的检测需求。

总体上精浆检测是体外诊断中一个规模虽小但稳定细分领域,其发展与男性生殖健康诊疗水平提升紧密相连。

随着国家对生育鼓励的推荐,广大生育的需求也会被更多的释放出来。然而,由于现代社会高节奏的生活,过大的压力,不孕不育成了生育人群最大的烦恼。

因此,男性的精浆检测需求,势必也会随着鼓励生育政策和社会演变,变得更加旺盛。

目前,已上市的产品,全部都是多人份包装的生化检测试剂。不利于医疗检测机构灵活地开展检测,做不到随到随检,总是要累积一定数量的样本,才能开瓶检测。所以精浆检测并不是每一个医院可以开展,有的医院需要外送医疗机构。

在医疗控费的背景下,属于政治正确,又能开单给医院增收的项目,少之又少,精浆检测,绝对是其中之一。虽然每日检测数量不多,但是蚊子腿也是肉,现在自己不做,还要送给其他医院做,哪个医院甘心?

所以,市场上对于随到随检的单人份精浆检测,有着强烈的需求!

但是,市场上并没有这个产品!虽然有一些单人份的碟式生化,那都是针对血液常规的。而现在的几个精浆检测试剂厂家也没有推出单人份试剂。

今年3月的时候,我在杭州CACLP展会上跟一个已经做了20多年生殖医学的厂家销售聊市场,没想到他们居然已经在开发这样的产品了。当时就想,恐怕这个小而美的精浆检测市场,也要开始翻出风浪了。

就在上周,看到这个销售的朋友圈:

单人份的全自动精浆生化分析仪与配套试剂!已经上市!誓将颠覆精浆检测原有的市场格局!666元预订10月份发布会,赠送超额大礼包,不满意全额退款!

图片
  • 精浆果糖测定试剂:

    影响精子供能,能精准判断梗阻部位,是评估精囊分泌功能的“金标准”; 

  • 精浆中性α-葡糖苷酶测试试剂:

    附睾分泌功能的核心指标,直接关联精子活力与功能,助力排查弱精原因;

  • 精浆锌测定试剂:

    前列腺功能“晴雨表”,常用于前列腺炎、男性不育的辅助诊断;

  • 精浆柠檬酸测定试剂:

    预防精液液化迟缓,含量降低直接提示前列腺分泌功能受损,早发现早干预。

图片

产品跟单人份小发光很相似。采用卡条形的设计,预装试剂。特别有意思的是,卡条是弧形的!这个设计在成都估计很受欢迎!应该是为了配合全自动生化分析仪,感觉像是从圆形的生化反应盘上截取下来的。

单人份的设计,意味着随到随检,便捷,速度,操作简单!不管是来5个样本,10个样本,还是100个样本,都能处理!

就跟雷总说的一样,果真所有的检测产品,都可以POCT再造一遍!

今天精浆检测市场也迎来了POCT!上海北昂的翅膀已经扇动,精浆检测的池塘,也要起风浪咯!